[메디컬프라임 백현우 기자] 여의도성모 안과병원 황호식 교수가 다초점 인공수정체 평가 장치 ‘Optical bench tester for multifocal IOL’의 미국 특허 등록을 완료했다. 본 발명은 다초점 인공수정체(multifocal IOL, 원·근거리 동시 교정 렌즈)의 성능을 객관적이고 신속하게 평가하도록 고안됐다.
백내장 수술은 혼탁한 수정체를 제거하고 인공수정체(IOL)를 삽입하는 표준 치료다. 기존 임상 연구 기반 평가는 환자 시력과 만족도 조사를 통해 이뤄지지만 시간·비용 부담과 주관성이 한계로 지적돼 왔다.
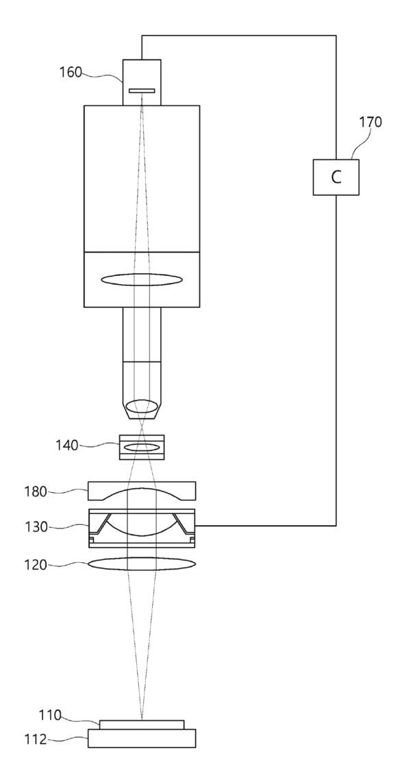
황 교수의 특허 기술은 옵티컬 벤치(optical bench, 광학 성능 평가 장치) 상의 수조에 인공수정체를 삽입한 뒤, 전기로 작동하는 액체렌즈로 다양한 거리를 시뮬레이션할 수 있도록 탈조점을 만든 후 시표를 촬영 및 분석한다.
시표 촬영부터 데이터 분석까지 전 과정을 자동화해 반복 가능성과 재현성을 높인 것이 핵심이다.
메디컬프라임 / 백현우 기자 bcbc703@hanmail.net
관련기사
백현우 기자
bcbc703@hanmail.net
